联系人:上海程斯
销售电话:13761235453
销售QQ:161383659
公司地址:上海市松江区洞业路999号
13761235453 19821311892
PRODUCT CENTER
联系人:上海程斯
销售电话:13761235453
销售QQ:161383659
公司地址:上海市松江区洞业路999号
文章来源: 上海程斯智能科技 发布时间: 2026-04-09 17:24:14 浏览次数:次
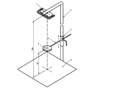
CSI-Z533 口腔灯阴影测试工装
执行标准:
YY/T 1120-2021中7.3.8
技术参数;
圆盘直径:φ 20mm (厚:1mm)
距离测量屏:50mm
测量屏:带直角坐标系
光源距屏:700mm
工装包含柱、调节用滑动环、测试屏、杆

配置清单
工装一套,合格证一份,铭牌一份。

球囊综合性能测试仪(三工位)CSI-Z050-3Q ···
CSI-F825导热系数和热扩散系数测定仪-激光闪光法一,···
高效过滤器过滤效率检测仪(油雾法)符合标准:GBT 6165···
根据《上海市优质中小企业梯度培育管理实施细则》(沪经信规范〔···
纸尿裤卫生巾吸水倍率测试仪  ···
面罩完整性测试仪 &nbs···
CSI-L027燃气软管耐压试验机 仪器简介:燃气···
成品鞋底耐折试验机,国标成鞋曲折试验机 执行表GB···
客户到访上海程斯,深入考察设备与专业培训近日,客户代表团莅临···
包装材料微粒测试仪,包装材料微粒检测仪(气体吹脱法)&nbs···